Registreer FAQ Berichten van vandaag


Ga terug   Scholieren.com forum / School & Studie / Huiswerkvragen: Exacte vakken
Reageren
 
Topictools Zoek in deze topic
Oud 06-11-2005, 14:53
Verwijderd
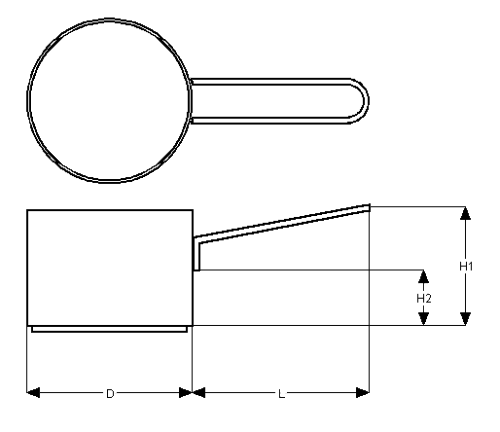
Afgebeeld is een steelpan met daarin 1.2 liter water. De pan bestaat uit een kom (waarin het water zit) en een handvat, die beide in roestvrijstaal zijn uitgevoerd. Tussen de twee delen zit een verbinding die de beide delen star met elkaar verbindt. De massa van de kom is 1.0 kilogram. De massa van het handvat mag in deze opgave worden verwaarloosd. De steelpan, met het water, wordt door de gebruiker precies horizontaal gehouden.
Verder geldt dat D = 153 mm, L = 150 mm, H1 = 80 mm en H2 = 40 mm.




Bereken de grootte van het moment M dat door de verbinding tussen de kom en het handvat wordt geleidt. Druk het antwoord, ongeacht de richting van het moment, als een positief getal uit. Neem voor de valversnelling 10 m/s2.


weet iemand het misschien? ik kom er echt niet uit!

edit: dan maar even zo.

Laatst gewijzigd op 06-11-2005 om 14:59.
Met citaat reageren
Advertentie
Oud 06-11-2005, 14:55
Verwijderd
Je afbeelding doet het niet.
Met citaat reageren
Oud 06-11-2005, 15:14
Keith
Avatar van Keith
Keith is offline
Als de pan horizontaal wordt gehouden is het heel simpel. Het moment van het water om de verbinding heen is dan gelijk aan de zwaartekreacht op het water en de kom keer de arm. De zwaartekracht is 220N em de arm is 1/2*D, dus het moment dat om het verbindingstuk werkt is 110*0,153 Nm. Het moment dat het verbindingsstuk moet uitoefenen om de kom stil te houden is dan gelijk en tegenovergesteld, dus ook 110*0,153 Nm.
__________________
"It is, in fact, nothing short of a miracle that the modern methods of instruction have not entirely strangled the holy curiosity of inquiry." - AE
Met citaat reageren
Oud 06-11-2005, 18:22
Verwijderd
Citaat:
Keith schreef op 06-11-2005 @ 15:14 :
Als de pan horizontaal wordt gehouden is het heel simpel. Het moment van het water om de verbinding heen is dan gelijk aan de zwaartekreacht op het water en de kom keer de arm. De zwaartekracht is 220N em de arm is 1/2*D, dus het moment dat om het verbindingstuk werkt is 110*0,153 Nm. Het moment dat het verbindingsstuk moet uitoefenen om de kom stil te houden is dan gelijk en tegenovergesteld, dus ook 110*0,153 Nm.
Je vergeet sowieso dat het zwaartepunt niet op dezelfde hoogte ligt als het handvat, omdat het water onderaan de pan zit. Daarnaast vraag ik me af of je het verbindingsstuk wel als draaipunt moet zien. Het ligt me logischer om het uiteinde van het handvat als draaipunt te nemen.
Met citaat reageren
Oud 06-11-2005, 20:14
Big Brother
Avatar van Big Brother
Big Brother is offline
Citaat:
Snees schreef op 06-11-2005 @ 18:22 :
Je vergeet sowieso dat het zwaartepunt niet op dezelfde hoogte ligt als het handvat, omdat het water onderaan de pan zit. Daarnaast vraag ik me af of je het verbindingsstuk wel als draaipunt moet zien. Het ligt me logischer om het uiteinde van het handvat als draaipunt te nemen.
nee, ze vragen het moment in de verbinding.
en aangezien het zwaartepunt van de massa niet bepalend is voor de berekening van het moment, maar de richting van de (in dit geval zwaarte-)kracht, heeft keith gelijk.

1 kg is alleen 10 N en niet 100 N (g=10), dus het antwoord is 11*0,153 Nm
__________________
hoi, ik ben een signature
Met citaat reageren
Advertentie
Reageren


Regels voor berichten
Je mag geen nieuwe topics starten
Je mag niet reageren op berichten
Je mag geen bijlagen versturen
Je mag niet je berichten bewerken

BB code is Aan
Smileys zijn Aan
[IMG]-code is Aan
HTML-code is Uit

Spring naar

Soortgelijke topics
Forum Topic Reacties Laatste bericht
Software & Hardware [Monitor] CRT monitor nat geregend
Droyd
3 19-06-2005 20:55
Muziek mocky - catch a moment in time
FaceTheTruth
24 08-03-2005 15:48
Verhalen & Gedichten Verhalenwedstrijd: Natte zoenen.
Ieke
0 16-02-2004 21:46
De Kantine grappigste moment
vosje16
5 03-01-2004 12:57
De Kantine [gouwe ouwe] wat staat er onder je ctrl+V ???
damaetas
582 27-01-2003 19:11
Seksualiteit Zijn jullie ook zo nat?
Mark
6 03-06-2002 20:50


Alle tijden zijn GMT +1. Het is nu 01:41.